A Atmel que foi comprada pela Microchip lançou recentemente uma nova versão do popular Atmega328P usado na placa Arduino UNO. O novo microcontrolador foi chamado de Atmega328PB e apresenta diversas melhorias em relação ao seu antecessor.
A sua documentação já está disponível no site da Atmel e inclusive uma placa Xplained Mini para sua avaliação. Vejamos a seguir os novos recursos presentes nesse novo microcontrolador da Atmel.
Recursos do Atmega328PB
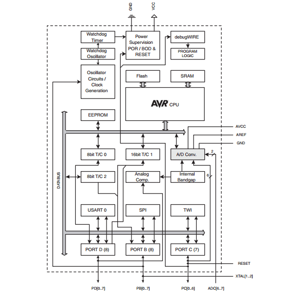
O ATmega328PB possui o mesmo núcleo do ATmega328P, com a arquitetura AVR de 8 bits, memória flash de 32KB, memória SRAM de 2KB, memória EEPROM de 1KB e frequência máxima de operação de 20 MHZ. O upgrade para a nova versão teve impacto nos periféricos do microcontrolador, ou seja, foram adicionados mais recursos. Para comparação, a figura 1 exibe o diagrama de blocos do ATmega328PB e a figura 2 exibe o diagrama de blocos do “bom e velho” ATmega328P:
Observando os diagramas de blocos apresentados, podemos notar os novos periféricos adicionados, que são:
- Mais 2 Timers/Counters de 16 bits com prescalers separados e modo de comparação. Eles também podem ser utilizados com os PWMs;
- Os periféricos de comunicação receberam mais uma canal cada. Agora são: 2 canais de USART, 2 canais de I2C(TWI) e 2 canais SPI. Esses novos periféricos ajudarão em muitos projetos onde eram limitados os canais de comunicação por hardware, sendo necessário, em muitos casos, criar a solução por software. Verifique, no entanto que vários periféricos compartilham dos mesmos pinos, como por exemplo USART e SPI.
- Foram acrescentados mais canais PWM, agora são 10 canais ao invés dos 6 presentes no Atmega328P. O Bloco de PWM especialmente foi bem trabalhado e possui três contadores exclusivos de 16 bits e também permite que se desenvolva PWMs com resolução real de 16 bits;
- Foi adicionado periférico de hardware para sensor capacitivo. Esse microcontrolador foi o primeiro dispositivo AVR de 8 bits a ter integrado o periférico de controle de Touch o QTouch. Dessa forma ficará mais fácil para desenvolver aplicações de botões capacitivos, sem a adição de hardware externo, e isso é espetacular. Se conectados direto aos pads, é poss+ivel fazer teclados com 24 teclas utilizando esse microcontrolador.
Esses foram os pontos de maior impacto nessa nova versão, porém é interessante notar que o ATmega328PB não possui um encapsulamento PDIP, estão disponível os encapsulamento TQFP e QFN ambos com 32 pinos.
A figura 3 exibe um resumo de todas as características do ATmega328PB
Para mais informações acesse a pagina da microcontrolador na Atmel.
Sem dúvida esse novo microcontrolador de 8 bits da Atmel irá melhorar as aplicações que necessitem de mais recursos de hardware que antes estavam limitados no ATmega328P, como timers, periféricos de comunicação e funcionalidades de PWM. A migração de um projeto que utilize o ATmega328P para essa nova versão será tranquila, devido a compatibilidade de núcleo.
Para o makers de plantão, agora é só esperar uma nova versão de placas Arduino testes.
Mas se você usa para projetos profissionais ou quer testar essa nova versão, já é possível adquirir uma Xplained Mini ou chips para testes em seus projetos.
O que você achou desse novo microcontrolador? Deixe seu comentário.
Com a compra da Atmel pela Microchip, a ultima fixará seu posto de líder para microcontroladores de 8 bits?
Deixe seu comentário e bons projetos!











Comprei um lote de Arduino Nano e não consigo gravar sketch neles. O avrdude indentifica com assinatura final 16, sendo assim, creio que se trata do ATmega328PB. Tenho que mudar alguma coisa na IDE para conseguir carregar o sketch nessa versão?
Oi Fabio, eu acho que as alterações foram tantas que merecia ser um novo modelo de Microcontrolador. Acho que a ATMEL erra ao manter o mesmo numero (ATMEGA328Px) somente acrescentando uma letra a mais no final do código. Deveria ter um novo PN, por exemplo ATMEGA3282 por exemplo.
Olá Francisco, realmente foram alterações significativas. Porém como não mexeram no núcleo, acredito que quiseram manter a mesma linha do antecessor. Porém concordo em um PN novo. Obrigado pelo comentário
o própria ATMEL informa, no documento de comparação dos chips, que este não é um sucessor, e sim um novo dispositivo. Também achei meio desnecessário o nome dado. Provavelmente quiseram pegar carona no sucesso do ATmega328P.